Plastová mřížka do dveří, která zabezpečuje přívod vzduchu do sociálních zařízení a jiných místností. Montuje se do výřezu ve dveřích, a skládá se ze dvou částí, které se po nasunutí z obou stran dotáhnou šrouby.
Soler & Palau ECOAIR DESIGN T Ecowatt ventilátor
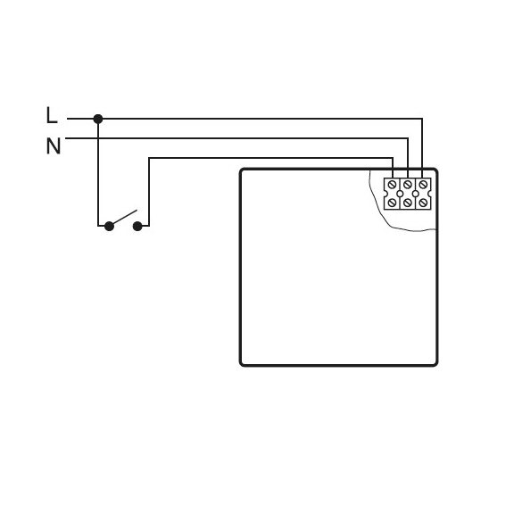
EcoAIR DESIGN T Ecowatt je model malého radiálního ventilátoru s nastavitelným časovým doběhem 1-30 min, hydrostatem s možností nastavení na trvalý chod na nízkých otáčkách s konstantním objemovým průtokem. Regulace konstantního průtoku se provádí přepnutím DIP mikropřepínačů po demontáži čelní mřížky. Možná nastavení jsou 15, 22, 30, 36, 45 nebo 54 m3/h. Po stisknutí "boost" se ventilátor dostane na průtok 65 m3/h.
Je v elegantním bílém provedení a balení zároveň obsahuje barevné proužky na dotvoření celkového vzhledu zařízení.
EcoAIR DESIGN T Ecowatt je tichý ventilátor s hlučností max. 32 dB(A) a s nízkou spotřebou energie na nejvyšším výkonu jen 7,2 W. Skříň ventilátoru je vyrobena z ABS plastu a je určený k montáži na stěnu nebo do podhledu bez omezení v horizontální nebo vertikální poloze.
Motor je EC s vysokou účinností a nízkou spotřebou, vybavený termopojistkou proti přetížení (maximální teplota okolí 40 ˚C) a s krytím IPX4. Ventilátory jsou vhodné pro velmi náročné interiéry a architektonická řešení.
Dostupné varianty:
S – dva režimy nastavení: 1. trvalý chod s nízkým průtokem, 2. zvýšení výkonu z trvalých nízkých otáček na vysoké pomocí externího spínače nebo světelného spínače,
T - Model S + nastavitelný časový doběh 1 - 30 min,
H - Model S + nastavitelný časový doběh 1 - 30 min, interní čidlo vlhkosti,
M - Model S + nastavitelný časový doběh 1 - 30 min, interní čidlo vlhkosti, tahový spínač.
Vlastnosti
| Hmotnost | 0,57 kg | |
| Max. vzduchový výkon | 65 m³/h | |
| Příkon | 1,5 - 7,2 W | |
| Napětí | 230 V | |
| Hladina akust. tlaku v 3m | 32 dB(A) | |
| Časový doběh | Ano | |
| Čidlo vlhkosti | Ne | |
| Tahový spínač | Ne | |
| Zpětná klapka | Ne | |
| Průměr potrubí | Ø100 mm | |
| Max. teplota okolí | 40 °C | |
| Materiál | Plast | |
| Třída krytí | IPX 4 |
Ke stažení
-
- Ventilátor ECOAIR DESIGN T Ecowatt - Návod k obsluze ( 1.76 MB) Stáhnout